| 索引号: | 11341602003165695B/202502-00019 | 组配分类: | 行政执法公示 |
| 发布机构: | 谯城区经济和信息化局 | 主题分类: | 综合政务 |
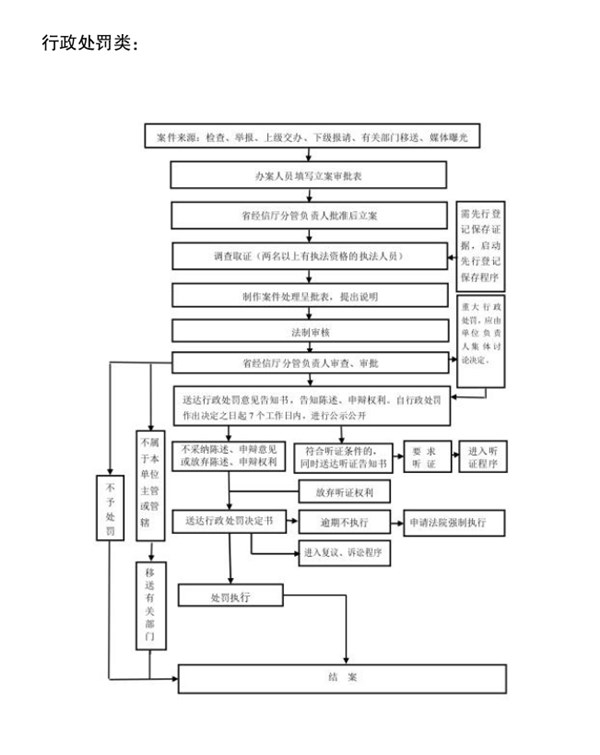
| 名称: | 区工业和信息化局行政处罚执法程序(2025年版) | 文号: | 无 |
| 发文日期: | 2025-02-03 | 发布日期: | 2025-02-03 |
| 索引号: | 11341602003165695B/202502-00019 |
| 组配分类: | 行政执法公示 |
| 发布机构: | 谯城区经济和信息化局 |
| 主题分类: | 综合政务 |
| 名称: | 区工业和信息化局行政处罚执法程序(2025年版) |
| 文号: | 无 |
| 发文日期: | 2025-02-03 |
| 发布日期: | 2025-02-03 |